在这篇文章中,我们深入研究了数据可用性问题的细节以及它如何影响以太坊的扩展。
什么是数据可用性问题?
数据可用性问题:区块链网络中的节点如何确保新提议区块的所有数据实际上是可用的?如果数据不可用,则该块可能包含被块生产者隐藏的恶意交易。
举个例子,假设Alice是ZK-Rollup(ZKR)的运营商。她在以太坊上提交了经过验证的ZK证明。如果她没有在以太坊上提交所有交易数据,尽管她的证据证明rollup中进行的所有状态转换都是有效的,但rollup的用户仍然可能对其当前账户余额一无所知。由于提交的证明的零知识性质,提交的证明没有说明当前状态。
OptimisticRollup(OPR)设置中有一个类似的例子,Alice在以太坊上提交了一个断言,但OPR的任何参与者都不能挑战它,因为交易数据不可用,因此他们无法重新计算或挑战该断言.
模块化区块链网络Celestia推出OPStack模块化数据可用性接口Beta版本:6月2日消息,模块化区块链网络 Celestia 宣布推出 OP Stack 模块化数据可用性(DA)接口的 Beta 版本,允许开发人员定义 DA 层并从任何区块链继承安全性,包括以太坊、Celestia 和比特币。Rollup 平台 Caldera 将很快发布 Taro 测试网,允许开发人员和用户使用模块化 DA 试用 OP Stack 的第一个公共测试网。[2023/6/2 11:54:19]
为了应对上述情况,OPR和ZKR的设计都要求operator将以太坊上的所有交易细节作为“calldata”提交。虽然这使他们在短期内避免了DA问题,但随着rollup内部交易数量的增长,需要提交的数据量也会增加,从而限制了这些rollup可以提供的扩展量。
信通院TBI成立首个专项研究组 建设基于区块链的数据可信协作应用体系:金色财经报道,3月29日,中国信通院可信区块链推进计划(TBI)第十一次全会在杭州召开。会上,中电长城网际系统应用有限公司、贵阳大数据交易所、蚂蚁链三方牵头成立数据可信流通项目组,面向数据要素流通探索融合技术、应用体系和典型场景,建立数据可信流通的相关标准和技术规范。
据中电长城网际数字场景科技研究院院长朱江介绍,TBI数据可信流通项目组接下来将着力推进三项工作,包括制定区块链数据可信协作标准,建设基于区块链的数据可信协作应用体系,以及建立区块链可信数据协作人才培养体系。(新浪)[2023/4/1 13:39:29]
这对如今的区块链有何影响?
为了回答这个问题,让我们首先回顾一下类似以太坊的区块链的一般区块结构以及任何区块链网络上存在的客户端类型。
区块链赋能自媒体/多媒体数据可信管理相关国际标准在ITU-T成功立项:2月18日消息,2022年1月17-28日,国际电信联盟第十六研究组(简称ITU-T SG16)召开全体会议,来自中国、美国、英国、韩国、日本等国家和世界卫生组织等国际组织的百余名代表参加了在线会议。由中国信息通信研究院指导,由北京邮电大学牵头,共同提出的《基于区块链的多媒体数据分发系统参考架构》国际标准项目立项建议获得通过,这也是国际上首个区块链技术在自媒体/多媒体数据资产共享与管理领域应用的标准。[2022/2/18 10:00:19]
一个块可以分为两个主要部分:
区块头:一个小区块头包含与区块中包含的交易相关的摘要和元数据。
块体:它包含所有交易数据并占块大小的大部分。
在传统的区块链协议中,所有节点都被视为同步整个区块并验证所有状态转换的完整节点。所有节点花费大量资源来检查交易有效性并存储区块。从好的方面来说,这些节点不会接受任何无效的交易。
裕信银行:强劲的美国就业数据可能导致美元迅速走高:裕信银行表示,如果美国9月非农就业数据超出预期,相对于G10货币和新兴市场货币,美元需求可能会迅速增加。预测欧元兑美元EUR/USD将迅速跌破1.15,而1.1450代表下一个支撑位。周三美国9月ADP就业人数超预期增长,预计非农数据也将强劲。假如非农就业人数如预期增加50万人,可能足以让美联储按计划在11月开始缩减资产购买规模。裕信银行预计将增加60人。[2021/10/8 5:47:51]
可能还有另一类节点没有资源来验证每笔交易。相反,他们主要对了解区块链的当前状态以及与他们相关的某些交易是否包含在链中感兴趣。这些轻客户端依靠全节点来检查所有交易是否有效。因此,在安全性方面,它们依赖于可信的全节点。
但是如果区块生产者没有透露区块背后的全部数据呢?这可以防止全节点验证所有交易。这反过来又阻止了轻节点绝对确定它所看到的由所有合法交易支持的区块头。
隐私及数据保护平台HOPR利用Ceramic提供数据可验证性:9月10日消息,隐私及数据保护平台HOPR宣布,已经开始使用去中心化网络存储协议Ceramic向节点运行者提供链下日志信息,同时保持其数据的隐私性。HOPR协议是新一代去中心化应用程序的第0层隐私基础。HOPR激励混合网允许任何应用程序发送数据,而不会泄露数据或元数据。HOPR节点将依靠Ceramic来追踪节点支付,而不会牺牲用户隐私。[2021/9/10 23:16:21]
为了解决这个问题,我们需要一种轻客户端机制来验证数据可用性。这将确保区块生产者无法通过说服轻客户端来隐藏数据。它还将迫使区块生产者公开部分数据,使整个网络以协作的方式访问整个区块。
让我们借助一个例子更深入地探讨这个问题。假设区块生产者Alice用交易tx1、tx2、……、txn构造了一个区块B。让我们假设tx1是恶意交易。如果tx1被广播,任何完整节点都可以验证它是恶意的,并将其发送给轻客户端,轻客户端会立即知道该块是不可接受的。但是,如果Alice想隐藏tx1,她会显示标头和除tx1之外的所有交易数据。全节点无法验证tx1的正确性。让轻节点查询任意一笔交易,均匀随机。轻客户端查询tx1的概率为1n。因此,Alice能够以压倒性的可能性轻客户端接受恶意交易。由于不可归因的性质,全节点无法以任何方式证明tx1不可用。
那么,我们该怎么办呢?
该问题的解决方案在于在块中引入冗余。总的来说,有大量关于编码理论的文献,特别是擦除编码,可以帮助我们解决这个问题。
简而言之,纠删码允许我们将任何n个数据块扩展为2个数据块,其中2n个数据块中的任何一个都足以重建原始数据块。
如果我们强制区块生产者擦除交易tx1、tx2、...、txn的代码,然后隐藏单个交易,则需要隐藏n+1个交易,因为任何足以构建整个交易集的交易。在这种情况下,恒定数量的查询使轻客户端足以确信底层数据确实可用。
哇,原来如此?
不。虽然这个简单的技巧使隐藏工作变得更加困难,但区块生产者仍有可能故意以错误的方式执行擦除编码。然而,一个完整的节点可以验证这个擦除编码是否正确完成,如果没有,它可以向轻客户端证明这一点。这被称为欺诈证明。有趣的是,轻客户端需要有一个诚实的全节点邻居才能确定如果编码错误,那么它将收到欺诈证明。这确保了轻客户端以极高的概率访问没有恶意交易的链。
但是存在一个问题!如果简单地实现,欺诈证明的大小可以按照块本身的大小排序。但我们对轻客户端的资源预设禁止我们使用这样的设计。通过使用多维擦除编码技术,可以在这方面有所改进,该技术以可接受的大小减少欺诈证明的大小。为简洁起见,我们不涉及这些,但该文献对其进行了详细分析。
基于欺诈证明的解决方案的问题在于,轻客户端永远无法完全确定尚未收到欺诈证明的任何块。此外,他们一直相信其全节点对等方是诚实的。还需要激励诚实的节点不断保持审计区块。
有没有办法避免欺诈证明?
最近,向量承诺重新引起了区块链领域的关注。这些向量承诺,尤其是对多项式的恒定大小的KZG/Kate承诺,可用于设计简洁的DA方案,而无需欺诈证明。简而言之,Kate承诺允许我们使用单个组元素提交多项式。此外,该方案支持我们证明在某个点i使用恒定大小的见证,多项式评估为。承诺方案在计算上是隐藏和绑定的,也是同态的,使我们能够巧妙地避免欺诈证明。
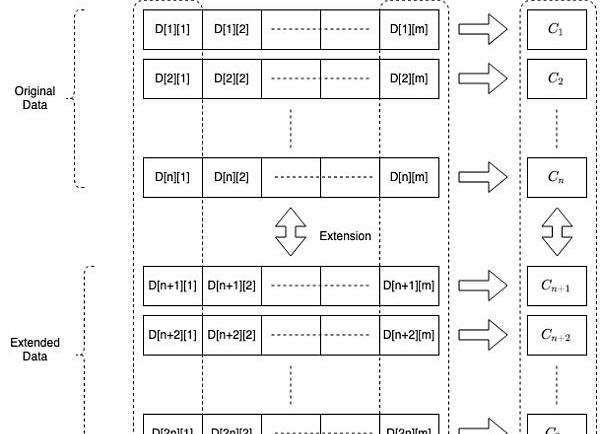
我们强制块生产者获取原始交易数据并将其排列在大小为n,m的二维矩阵中。它使用多项式插值将大小为n的每一列扩展为大小为2n的列。对于这个扩展矩阵的每一行,它都会生成一个多项式承诺,并将这些承诺作为区块头的一部分发送。下面给出了该块的示意图。
轻客户端查询这个扩展矩阵的任何单元格以获得见证,这使它能够立即根据块头验证它。恒定大小的成员证明使抽样非常有效。承诺的同态性质确保只有在正确构造块的情况下才验证证明,并且多项式插值确保成功样本的恒定数量意味着数据以非常高的概率可用。

该方案的更精细细节以及进一步的优化和成本估算超出了本文的范围。
其他选择是什么,以及进一步变更是什么?
更高维的擦除代码和Kate承诺并不是解决DA问题的唯一方法。我们在这里跳过了其他方法,如编码默克尔树、编码交错树、基于FRI和STARK的方法,但每种方法都有其优点和缺点。
我们在Polygon,一直在使用Kate承诺开发数据可用性解决方案。在后面的文章中,我们将介绍实现细节、您现在可以如何使用它以及我们如何致力于转变DA问题空间。
美东时间6月21日,加拿大最大的以可再生能源为动力的加密货币矿业公司——BitFarms(BITF.US)在美国纽约证券交易所上市,股票代码为“BITF”.
1900/1/1 0:00:00可扩容性问题以太坊是迄今为止市值最大、并被最多人采用的智能合约区块链,支持DeFi、NFT、社交代币等各种项目.
1900/1/1 0:00:00NFT成功的商业模式为市场提供了一种和数字资产进行互动的新方式:数字资产作为数据要素的一类,通过ERC-721等智能合约标准被标准化为通证,并赋予可编程的金融或商业运营属性.
1900/1/1 0:00:00原标题:《加息威胁压顶标普道指创四周最大跌幅美元一年最大涨幅美债收益率跃升》美联储暗示,加息会比联储此前预期来得早。缩减QE的阴影再次笼罩,美股下挫,美元和美债收益率跳涨.
1900/1/1 0:00:00过去一周,司法机关出台了两个与区块链、数字货币有所关联的司法解释,分别是6月16日出台的《人民法院在线诉讼规则》和6月22日出台的三机关《关于办理电信网络等刑事案件适用法律若干问题的意见》.
1900/1/1 0:00:00即将到来的权益证明网络将会淘汰以太坊矿工,但并不意味着他们会离开。与比特币一样,以太坊目前“挖矿”也需要耗费大量能源来保护网络安全、同时创建和分发新的数字货币,在全球范围内,以太坊矿工数量同样很.
1900/1/1 0:00:00